Лебедка электрическая ТЭЛ-3
Это подъемное электрическое устройство используется для выполнения строительно-монтажных, погрузочно-разгрузочных работ.
Лебедка может производится в взрывобезопасном исполнении ГОСТ 12.2.020-76.
Лебедкой запрещен подъем людей.
Условия работы лебедки:
|
|
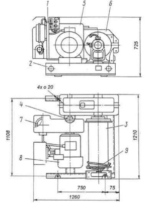
СОСТАВ ЛЕБЕДКИ
1. Установка пусковой аппаратуры 2. Рама 3. Барабан в сборе 4. Муфта 5. Кожух 6. Редуктор 7. Тормоз 8. Электродвигатель 9. Канат |
Технические характеристики:
| Тяговое усилие, кгс | 3200 |
| Скорость навивки каната на первом слое, м/с | 0,2 |
| Диаметр барабана, мм | 325 |
| Канатоемкость барабана, м | 250 |
| Электродвигатель мощность при ПВ=40%,кВт | 11 |
| Диаметр каната, мм | 16,5 |
| Редуктор | 1Ц3У-250 |
| передаточное число | 125 |
| Тормоз | ТКГ-200 |
| Габаритные размеры лебедки | 1210х1260х726 |
| Масса лебедки без каната, кг | 1100 |
Поделиться